
INCH-POUND
MIL-DTL-24552/1B(SH)
8 June 2001
SUPERSEDING
MIL-T-24552/1A(SH)
3 November 1986
DETAIL SPECIFICATION SHEET
TERMINALS AND SEALS, PLUGS AND SWITCH, CASUALTY POWER,
RECEPTACLE TYPE, BACK CONNECTED 200-AMPERE,
450-VOLT, ALTERNATING CURRENT, THREE-PHASE,
SYMBOL NO. 1046
This specification is approved for use by the Naval Sea Systems Command,
Department of the Navy, and is available for use by all Departments and
Agencies of the Department of Defense.
The requirements for acquiring the terminals described herein shall consist of
this specification and MIL-DTL-24552.
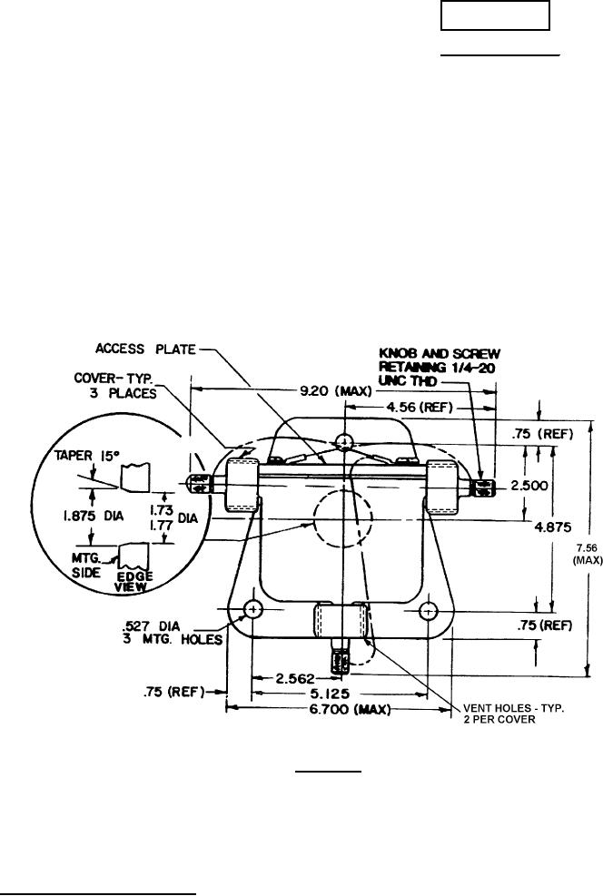
FIGURE 1. Terminal.
AMSC N/A
FSC 5940
DISTRIBUTION STATEMENT A.
Approved for public release; distribution is
unlimited.
1 of 2