
MIL-DTL-24558/3B
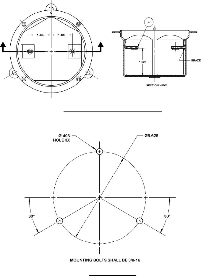
FIGURE 2. Location of terminal board mounting brackets.
FIGURE 3. Mounting dimensions.
4
For Parts Inquires call Parts Hangar, Inc (727) 493-0744
© Copyright 2015 Integrated Publishing, Inc.
A Service Disabled Veteran Owned Small Business