
MIL-T-24381/5/(SHIPS)
21 September 1972
MILITARY SPECIFICATION SHEET
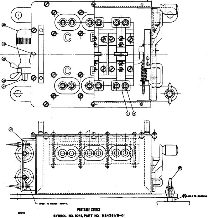
TERMINAL, CASULTY POWER, SWITCH, PORTABLE,
60-AMPERE, 500-VOLT, THREE-PHASE, ALTER-
NATING CURRENT, SYMBOL NUMBER 1041
The oomplate requirements for procuring the terminal switch dascribed herein shall
consist of this document and the latest issue of Specification MIL-T-24381(SHIPS).
NOTE: Supersedes NAVSHIPS Drawing 9000-S6202-73177.
FSC 5940
Page 1 of 8